吃瓜简评:
**吃瓜:李湘多平台账号被禁止关注,企业注销背后的商海浮沉**,网络上热议不已的“李湘事件”又一次掀起了热浪,据红星新闻报道,李湘的多个平台账号被禁止关注,这一事件背后不仅仅是一个账号的禁言,更折射出一个商人在网络生态中不断探索的故事。,李湘名下关联的企业共有20家,其中14家已经注销,仅有6家企业续存,这一数据背后,折射出的是一个网络营销者的商海浮沉,从一个角度来看,企业注销是正常的经营风险的一部分,但在李湘的案例中,这一数字却显得格外引人注目。,作为一个网络红人,李湘的商业模式一直以来都备受争议,他通过多平台账号推广各种“生财之道”,从一人一台到万元生意,再到“十万上手”,他的推销手法总能吸引一部分人的注意力,这种商业模式的可持续性却一直存疑,许多网友对他的宣传内容表示怀疑,认为他可能存在传销嫌疑。,账号被禁止关注的事件,或许正是对他营销模式的一种隐含回应,网络平台对账号的禁言,往往意味着某种内容的违规性质,无论是传销宣传,还是其他形式的不当营销行为,都可能导致账号被封禁,李湘的这一事件,是否也会让人们重新审视他之前的商业行为?,再从另一个角度来看,企业注销的背后反映的是市场需求的变化,李湘关联的企业中有14家已经注销,可能意味着这些业务模式已经不再具有盈利能力,或者市场需求发生了变化,这种现象在现代商业环境中并不少见,但对于一个网络红人来说,这往往会被外界解读为商业能力的不足。,作为一个网络营销者,李湘的成功与否,不仅取决于他的推销手法,更取决于他是否能适应市场的变化,他的社交媒体营销模式虽然有一定的影响力,但如果不能转型,可能会面临更多的困境,账号被禁止关注的事件,或许就是他转型过程中的一个重要节点。,李湘的案例也引发了对网络营销行业的思考,传统的线下商业模式已经不再适应快速变化的市场环境,而网络营销虽然具有一定的灵活性,但也面临着越来越多的监管和竞争压力,如何在这个环境下实现持续发展,是每一个营销者都需要面对的课题。,李湘的经历也并非完全悲剧,他的社交媒体影响力仍然相当大,可能会通过其他形式的商业活动继续发展,无论是通过直播带货,还是其他创新模式,他都有可能找到新的盈利点,关键在于他是否能够及时调整自己的商业策略,找到符合时代需求的商业模式。,从吃瓜的角度来看,这个事件确实值得一谈,李湘的商业起伏,折射出的是整个网络营销行业的特点和问题,他的成功与否,不仅关系到他个人的商业命运,更关系到整个行业的发展方向,希望他能够在这场商海浮沉中找到新的出路,或者说,能够通过这次转折,实现更好的自我突破。,李湘被禁止关注的事件,和他20家企业的注销,都是网络营销者在现代商业环境中常见的阵痛,但更重要的是,这些事件也提醒我们,在追求商业成功的过程中,诚信和合规才是最重要的底线,无论是李湘,还是其他类似的网络营销者,都需要在这个基础上,才能真正实现长久的成功。
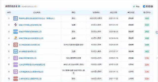
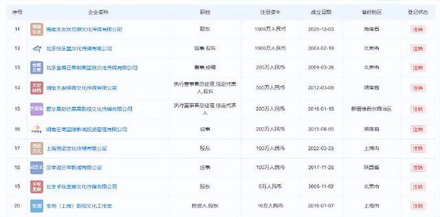
1月16日,李湘多平台账号被禁止关注。红星新闻注意到,李湘名下关联20家企业,其中14家已注销,仅6家企业续存。





来源:红星新闻
相关文章

